Обслуживание передних ступичных подшипников Chevrolet TrailBlazer
Компания GMC заготовила «подлянку» для обладателей Chevrolet Trailblazer. Это необходимость регулярного — каждые 45 тыс. км пробега — обслуживания передних ступичных подшипников. Вот скрин-копия страницы из официального руководства по сервисному обслуживанию Шевроле Трейлблейзер.
Работы технически несложные и включают в себя регулировку и смазку роликовых конических подшипников. Но есть важный нюанс. Смазка должна хорошо работать в широком диапазоне температур — от минус 40℃ до плюс 160℃. И даже до плюс 200℃ — в пиковой нагрузке. Кроме того, состав смазки должен уверенно защищать подшипники от коррозии и преждевременного износа, обладать высокой резистентностью к испарению, окислению, изменению вязкости. Производитель рекомендует при обслуживании передних ступичных подшипников Chevrolet Trailblazer использовать смазку с допуском NLGI 2. В GM-City мы применяем высококачественную автосмазку Mobil Grease XHP 222. Её технические характеристики приведены в таблице ниже.
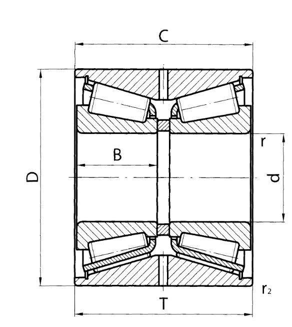
Необходимость обслуживания передних подшипников ступицы Шевроле Трейлблейзер продиктована конструктивным особенностями этого узла. Конические роликовые подшипники устанавливаются в паре с затяжкой внутренних обойм по Х-образной схеме. Если натяжение выполнено по всем правилам, подшипники этого типа уверенно справляются с повышенной радиальные или осевой нагрузкой при умеренной частоте вращения. Поскольку в конических роликовых подшипниках отсутствуют зазоры между телами качения и беговыми дорожками, они отлично выдерживают удары. Именно поэтому ими комплектуют тяжелонагруженные узлы и агрегаты — ступицы автомобильных колес, валы прокатных станов, буксы вагонных осей. Усилие на затяжку, как правило, контролируется степенью лёгкости вращения узла.
Самые распространённые причины неисправности передних ступичных подшипников Шевроле Треилблейзер — это:
- попадание внутрь грязи или воды;
- выгорание и спекание смазки;
- попадание продуктов износа на рабочие поверхности;
- механические повреждения.
![]() |
![]() |
![]() |
Помните, что от исправности ступичных подшипников зависят безопасность езды, жизнь и здоровье пассажиров и водителей. В большинстве мультибрендовых сервисах не знакомы с процедурой регулировки данного узла. Приезжайте в GM-City и доверьте эту работу нашим мастерам. У нас есть все необходимые расходные материалы и запчасти. На обслуживание передних ступичных подшипников Chevrolet Trailblazer и материалы нашей компанией предоставляется гарантия.





